Page 1 of 1
Display flies
Posted: Thu Jan 26, 2012 7:16 am
by Stendalen
A fly shop is opening in my town (yeeehaa!) I know the guys and I'm going to sell my flies in their shop. It will be in a limited scale (do not want to start production tie

). Any ideas on making a nice stad to display the flies? Boxes are boring and we want mine and another local tier's flies to stand ot from the "standard" collections.
Happy to get some ideas.
Martin
Re: Display flies
Posted: Thu Jan 26, 2012 10:54 am
by hankaye
Martin, Howdy;
Could use some pieces of driftwood from the sea ???????
hank
Re: Display flies
Posted: Thu Jan 26, 2012 11:16 am
by Stendalen
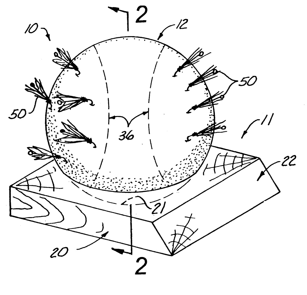
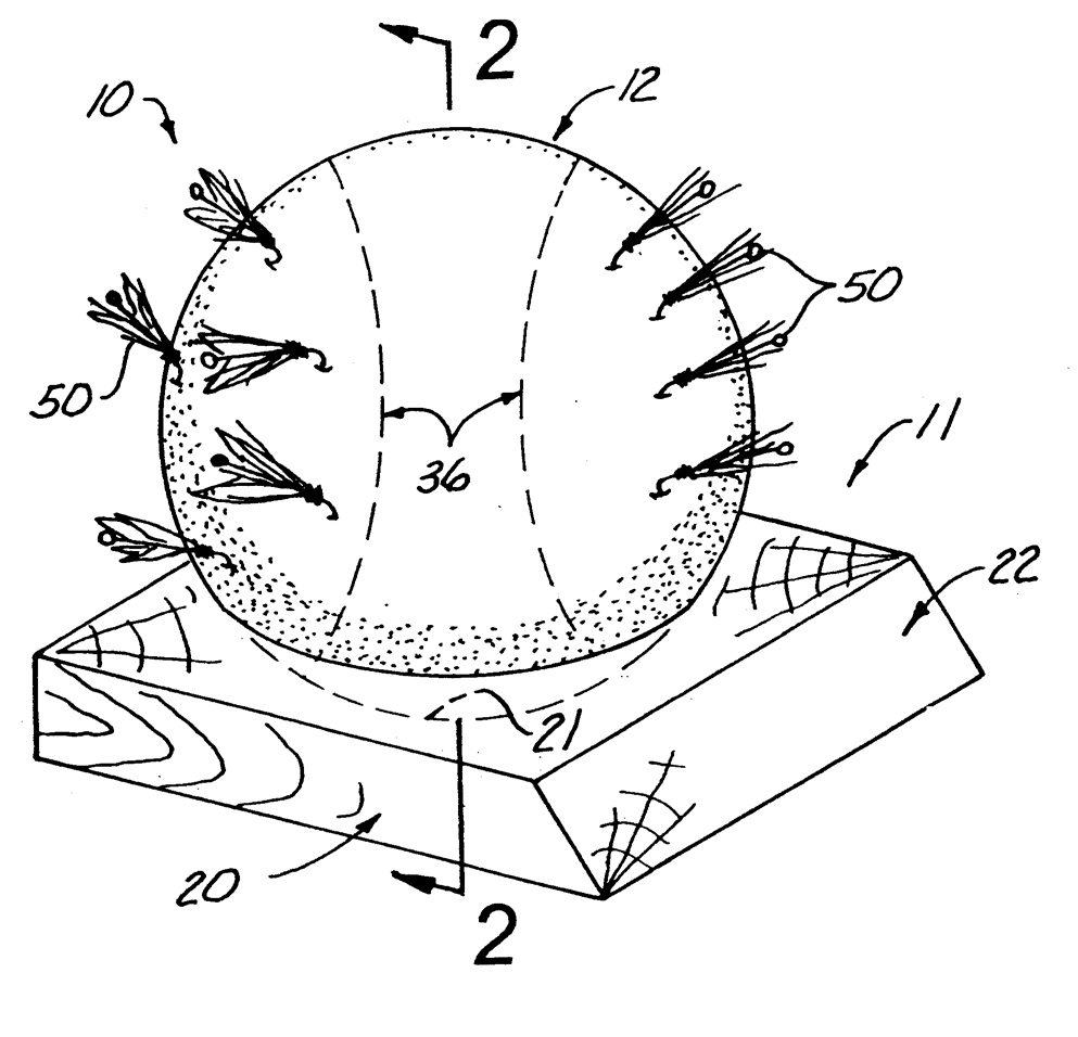
I was thinking a football, or lika a disco ball...but... unfortionately some grazy guy patented this...too bad

- 6516556-0-.jpg (215.29 KiB) Viewed 5079 times
Re: Display flies
Posted: Thu Jan 26, 2012 12:15 pm
by hankaye
Re: Display flies
Posted: Thu Jan 26, 2012 12:42 pm
by Stendalen
Yeah, that would bypass the patent...

Re: Display flies
Posted: Fri Jan 27, 2012 5:46 pm
by willowhead
Martin, i use wine corks a LOT!!!!! i have hundreds and hundreds and hundreds of flies displayed in wine corks. Wine corks of allllllllllllll sizes and shapes, from standard size to huge champaign bottle size, and many fancier types out of Teguilla (and other liquor), bottles. All the corks i have that came out of Tequilla (and other liquor) bottles, are actually some of the very best because, the caps are still attached to the cork.....thereby, making them the most stable and FLAT sitting. find yourself a good continous source.........a local resturant/bar.........and have them save them for you.........make SURE they understand you want them alllllllll, wine, champaign, and all liquor cocks, with and or without, caps attached.

Re: Display flies
Posted: Sat Jan 28, 2012 2:50 pm
by Norm Frechette
Re: Display flies
Posted: Sat Jan 28, 2012 7:17 pm
by Mataura mayfly
Try thinking outside the square a little if you want to "catch the eye" and draw punters to your flies.
Try things like a selection of your flies superglued to a piece of plastic fruit and display it on a plate like you might expect to see on a table or in a cafe. Or if you could make a wooden wedge and paint/ decorate it to resemble a wedge of cheese or cake...... complete with some of your flies appearing to feast on the frosting.
True it may not display your flies in the best light, but it will have the curiosity factor that makes people enquire further.